RXMA2(DZ-653)中间继电器技术参数及主要用途-上海上继科技有限公司
发布时间:2019-09-13一、RXMA2(DZ-653)中间继电器继电器用途
RXMA2(DZ-653)中间继电器用于电力系统二次回路及工业自动化控制回路中,作为中间辅助,扩大控制范围之用。

二、RXMA2(DZ-653)中间继电器继电器技术参数
2.1动作电压:<70%额定电压。
2.2返回电压: >5%额定电压。
2.3线圈功耗:<6W。
2.4触点长期允许通过5A电流;当通过电流的时间<200ms时,允许通过90A电流;当通过电流的时间为1s时,,允许通过50A电流。
2.5触点断开能力: AC 250V时为5A(功率因数>0.4) , 250VA。
DC: 250V2A L/R=40ms时, 45W。

2.6绝缘耐压: 50Hz, lmin, 2kV。
2.7冲击电压: 5kV。
2.8能承受5-15Hz中等震级的地震波冲击。
2.9额定电压及线圈阻值。

2. 10触点形式及特点

三、RXMA2(DZ-653)中间继电器继电器特点
3.1提供多至15付动合或动断以及转换触点,可筒化继电保护及自动化控制方案,结构紧法;不必通过两个或多个继电器的串联或并联来增加触点数量。
3.2 通过罩壳上的小孔拔动行铁可以试验触点动作情况。
3.3线圈激励为直流
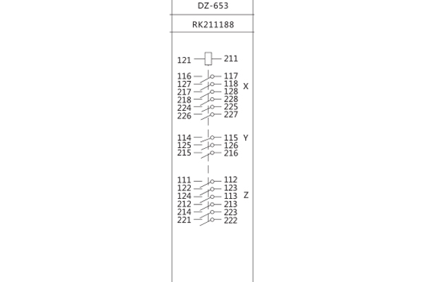
四、RXMA2(DZ-653)中间继电器继电器安装尺寸

公司介绍:上海上继科技有限公司是一家专业从事电力系统继电保护及智能电网电力自动化产品的研发、设计、生产、销售和服务为一体的高科技公司。拥有资深继电保护专家团队和国内**的检测仪器及校验设备。同时还引用国内外先进技术,来进行技术创新。本公司的产品广泛用于电力、工矿、铁路、建筑等国家重大工程输配变电系统上,产品远销东南亚及中东地区。产品通过国家继电保护及自动化设备质量监督检验中心检测,获得ISO9001国际质量体系认证。“科技创新,诚信务实”是公司的经营理念,本公司以高超的技术支持和对用户高度负责的售后服务赢得了输配电成套企业的信赖,且树立了良好的信誉。
上海上继科技有限公司(专注电力保护继电器生产厂家)销售热线:021-57233089 QQ:1932551438
{以上内容仅供参考,上海上继科技有限公司有最终解释权}
更多继电器精彩文章——BCH-1差动继电器主要用途及主要性能